Pédale de volume ROLL PRECISION (Frais de port gratuits en France Métropolitaine.)
Pédale de volume ROLL PRECISION (Frais de port gratuits en France Métropolitaine.)
Impossible de charger la disponibilité du service de retrait
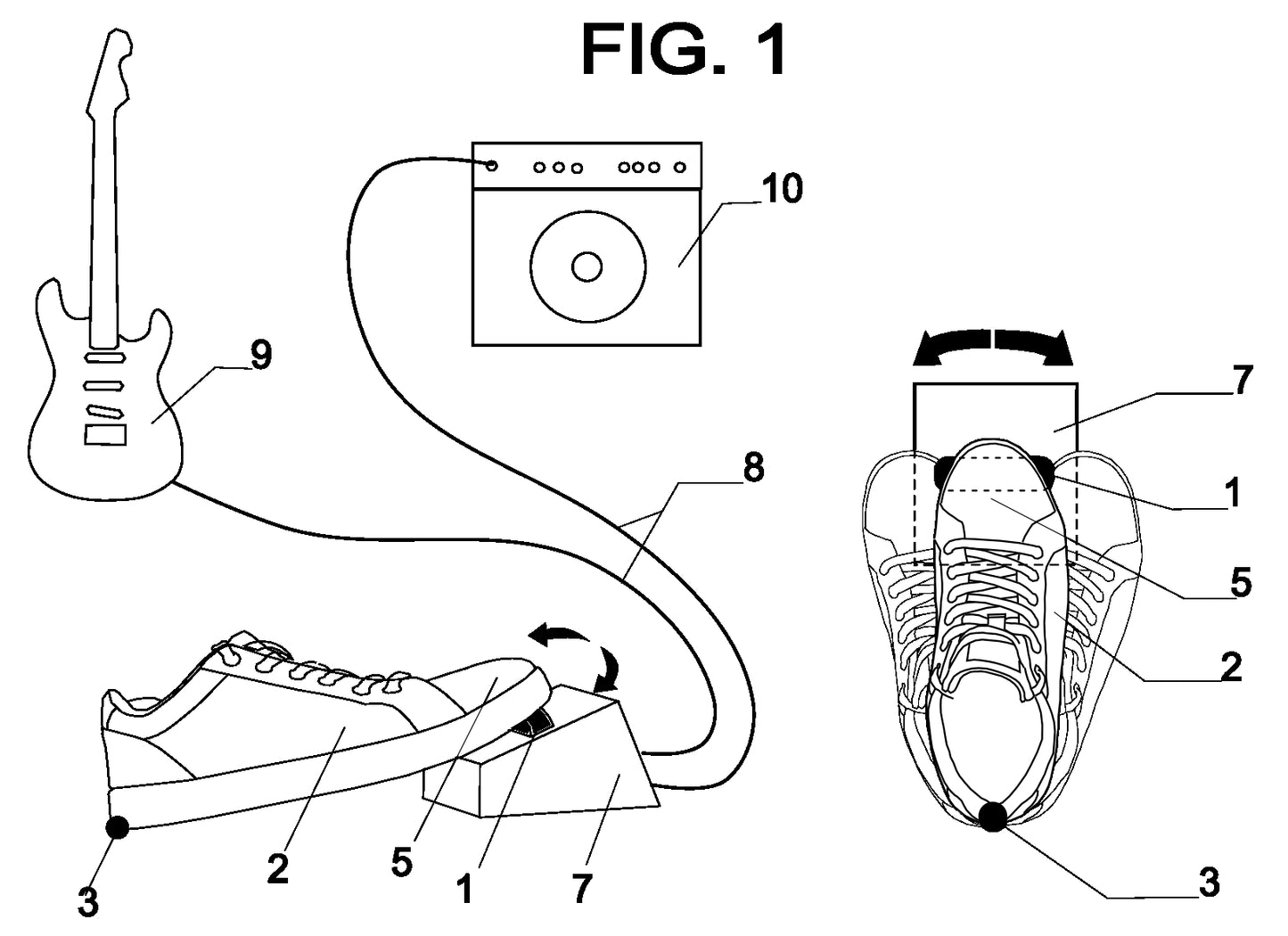
Pédale de volume ROLL PRECISION, fabriquée à la main en France.
C’est la pédale spécialement conçue pour la précision et permettre de trouver facilement le bon niveau sonore et ainsi trouver sa place dans un ensemble musical.
Cette pédale est une innovation française (brevet déposé) qui a été créée car aucune pédale ne permettait de trouver précisément et facilement le bon niveau sonore en situation réelle de jeu.
La pédale ROLL PRECISION a été spécialement conçue pour un nouveau procédé de réglage en 5 étapes. Cette pédale est plus précise et elle nécessite moins de ressources physiques et cognitives que les pédales traditionnelles. Elle permet de se concentrer au maximum sur la pratique musicale.
Elle est qualitative et construite pour durer :
- Embases jack Neutrik
- Potentiomètre Bourns
- Pièces mécaniques conçues pour des contraintes bien supérieures aux contraintes d’utilisation.
- Boîtier Inox fabriqué à 30 km de notre atelier qui, en plus d’être résistant et esthétique, fait office de cage de Faraday pour réduire les perturbations électromagnétiques de type « Hum ».
Share
